第三方监控,就找新思腾

专业专注,资质齐全,高性价比

专业北斗视频监控平台

免费接入使用,免费对接政府平台

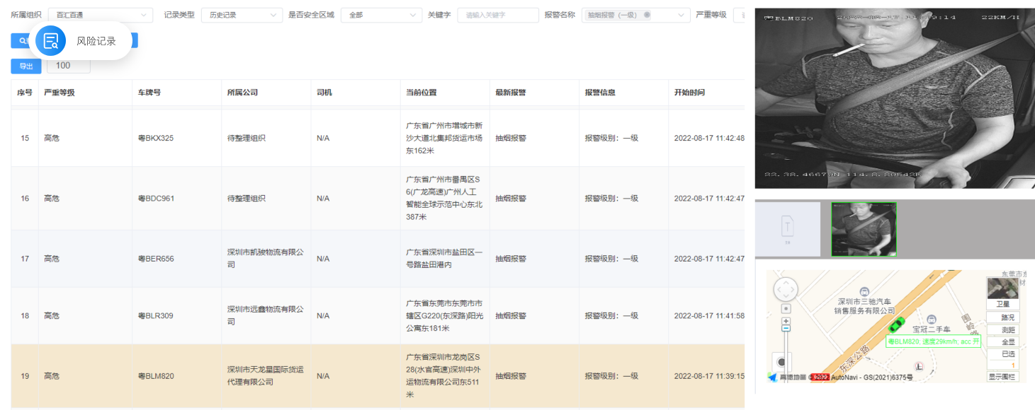
《百汇百通位置服务平台》是一个专注提供位置服务的平台,平台已通过JT808/809/1078/苏标/粤标检测,可以为各行 各业车辆提供实时定位、轨迹回放、实时视频、录像回放、主动安全预警以及里程、油耗、温控、OBD诊断、数据统计 分析等安全管理功能。

设备安装运维服务

装设备 送平台 免费对接政府平台

新思腾已在广东、广西、湖南、福建、河北等省份备案,公司自有安装人员及合作网点安装师傅超过500个,可为上述 地区提供智能视频终端/北斗卫星定位部标终端安装和运维服务,支持保险免费安装或企业自愿自费安装,最快2小时内 可上门服务。

智能视频终端安装/运维

北斗部标终端安装/运维

盲区声光报警设备安装

360全景设备安装

合作共盈

平台、资质、服务、技术 我们有!80%赢利您来赚

资质荣誉

成功案例

累计服务超过1000家企业

关于我们

新思腾成立于2015年,是一家专注北斗/GPS卫星定位技术应用开发和服务的高科技企业,公司实缴注册资本1000万元,主 要投资方为深圳市捷诚实业有限公司、深圳市车视科技有限公司。公司下设研发中心、营销中心、监控中心、售后服务中心、 工程部,拥有完善的服务体系统,技术实力雄厚,至今已经帮助近两百家GPS运营商通过交通部部标检测,为两百多家运营 商、上万家运输企业、数十万台车辆提供北斗/GPS监控管理服务。

联系我们

服务热线:400-89388-661

商务合作:18926795551黄小姐13138890525 李先生

公司地址:深圳市宝安区西乡街道名优采购中心B座二区416-420

公司网址:www.siton.com.cn

电子邮箱:ken@siton.com.cn

微信公众号